編輯:Android新聞
有沒有同學有著跟小編同樣的困惑,因使用地點的不同,對手機解鎖的復雜程度也不盡相同。在公共場合,我們會擔心手機解鎖太容易而洩露了個人信息;在自己的家中,手機的解鎖過程非常簡單,能更快更便捷地進入手機界面。
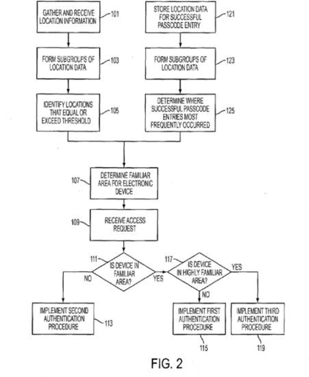
 根據外媒報道,谷歌公司最近剛剛發布了一項能夠基於地理位置解鎖Android智能手機的新申請專利。這一專利可以通過Android手機內置的定位傳感器來根據手機當前所處的地理位置自動改變相應的安全設置。因此這項專利可以讓Android設備的解鎖變得更智能化。比如當用戶在自己的家中,手機的解鎖過程非常簡單;但是如果當用戶身處復雜的工作場所或公共場所時,對於手機的解鎖過程就要變得更加復雜。

谷歌的這項專利發明顯然是為了幫助Android用戶的手機輕易的在公共場所被陌生人查看或被入侵者訪問敏感數據。不過除了加強了手機本身的安全性之外,這項專利從某種程度上來說還可以讓用戶解鎖手機變得更方便。用戶的設備根據當前的位置自動改變解鎖模式,當用戶再家中時,解鎖的便易性要由於安全性,就可以非常方便的解鎖甚至無需解鎖,很大程度上提升了用戶體驗,減少了不必要的麻煩。
除此之外,谷歌的新專利還包含了另外一項名字叫做“在熟悉區域的第三種身份驗證方法”的內容。從專利描述中看,Android用戶可以針對不同的區域設置不同的安全級別,比如家庭、辦公室和其它地點。在設置“熟悉區域”或“非熟悉區域”之後,兩種不同的定位之間所采用的安全級別也不盡相同。而安全級別不同,所采取對應的解鎖復雜程度也完全不同。這是一個方便且非常值得重視的功能,尤其是針對某些專業人員在特殊場合中,對數據和移動設備的安全性擁有比較高的要求時,這項功能就顯得尤為重要。
其實,除了針對不同安全級別的地點自動更換解鎖方式之外,這項專利還具有其它方面的應用可能。事實上這一專利從某種程度上與最近Google Now更新的Keep功能,也就是基於用戶周圍地理環境給出不同相應及搜索結構的功能非常類似。
未來,通過類似的原理,用戶手中的智能設備可以基於當前用戶所處的位置為用戶提供不同的需求及服務。而這也是各大科技巨頭們著重研發的熱門方向。
小編覺得此項專利是增加便利性和安全性,可給手機用戶帶來更多的便利。但此專利基於GPS定位,也就是說GPS要時時刻刻開著,會不會從而影響到手機的續航能力。
Android 6.0正式發布 新增系統安全補丁新功能
近日,備受大家期待的Android 6.0 Marshmallow已經正式發布了,也許谷歌是為了預防系統像之前一樣
Android世界四分五裂 成應用開發者噩夢
Android的碎片化一直都是Android面臨的一個難題,而且其碎片化程度更是超於任何人的想象,這也成為了很多應
美FBI:世界上44%的Android手機有安全漏洞
  Android手機安全無疑是這幾日備受關注的焦點話題之一,根據美國安全局公布的數據顯示,大部分的惡意軟件
谷歌或在10月28日發布Nexus 5和Android 4.4
關於谷歌Nexus 5和Android 4.4的發布時間有多種傳聞,但是最可靠的時間就是10月28日,因為在谷歌官