編輯:關於Android編程
運行 Android 模擬器的有個 GPU 開關,當打開 GPU 開關 3D 加速功能將轉給 HOST的 GPU, 否則就是用 Soft 3D(CPU 執行 GPU 運行), 因此勾選此項可以讓3D程序運行流暢。
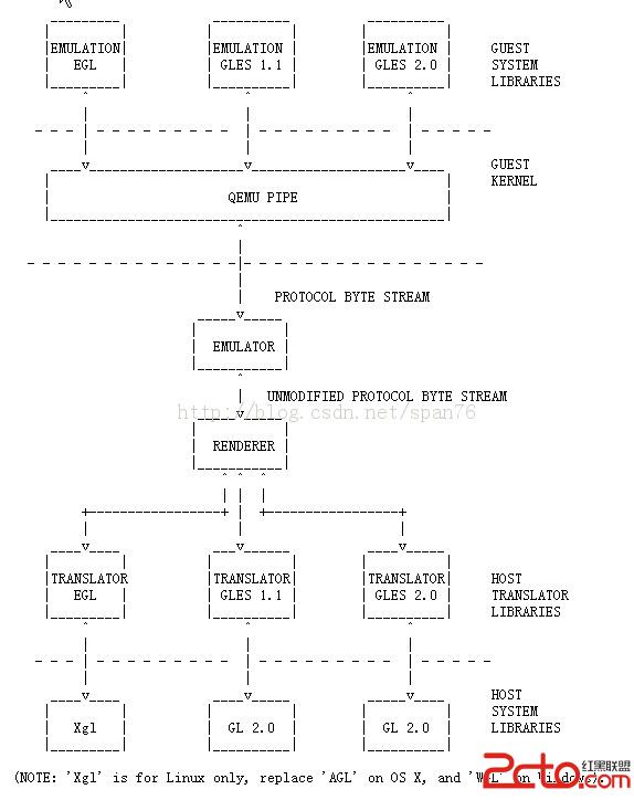
其設計如下:

可以參見官方 sdk/emulator/opengl/DESIGN<喎?/kf/ware/vc/" target="_blank" class="keylink">vcD4KPHA+JiMyMDU0MDu1w9ei0uK1xMrHIEFuZHJvaWQg1qez1rXEIEdMRVMgus0gT1BFTiBHTCC7udPQx/ix8KOsy/nS1NPQIFRSQU5TTEFUT1IgxKO/6b340NDXqruvoaM8L3A+CjxwPjxicj4KPC9wPgo8aDE+VWJ1bnUgTGludXggz8LD5sq508POysziyPS4yTwvaDE+CjxwPtTaIHdpbmRvd3MgyrnTw8SjxOLG97rDz/HDu9PQyrLDtM7KzOKjrNLyzqogd2luZG93ICDSssrHobHTzs+3u/qhsKOsIG9wZW5nbCDH/bavtrzKx7Cy17C6w7XEoaMgVWJ1bnUgTGludXggz8LD5sq508POysziyPS4yaGjPC9wPgo8cD48YnI+CjwvcD4KPGgyPtTL0NDEo8Tixvc8L2gyPgo8cD7PwtTYudm3vczhuam1xCBzZGsgb24gTGludXggPC9wPgo8cD7Uy9DQIC4vYW5kcm9pZCAgo6wgta+z9lNESyBNYW5hZ2VyvefD5iCjrMilz8LU2CBTREvWp7PWzsS8/jwvcD4KPHA+1MvQ0C4vYW5kcm9pZCAgYXZkLCC1r7P2IEFWRCBNYW5hZ2VyvefD5iAsIMiltLS9qNK7uPZBVkQoIGFuZHJvaWQgdmlydHVhbCBkZXZpY2VzKSwgscjI5yBhdmQxPC9wPgo8cD7Tw8P8we7Uy9DQxKPE4sb3IKOoyOe5+9Taw/zB7tDQ1tDDu9PQv6ogZ3B1IG9uLCC/ydLU1Nqyzsr91tDWuLaoo6k8L3A+CjxwPi4vZW11bGFvdHIgLWF2ZCBhdmQxIC1ncHUgb24gLXZlcmJvc2U8L3A+CjxoMj5VYnVudHXPwsTjtcTP1L+ow7vT0LCy17AgT3BlbkdMPC9oMj4KPHA+PC9wPgo8cD7I57n7VWJ1bnR1z8LE47XEz9S/qMO709CwstewIE9wZW5HTKOsIEFuZHJvaWQg0sDIu8TcxvS2r6Ostau4+b7dz8LD5rXEIExvZyDWqrXAysfTwyBzb2Z0d2FyZSByZW5kZXJlci48L3A+CjxwPkZhaWxlZCB0byBjcmVhdGUgQ29udGV4dCAweDMwMDU8L3A+CjxwPmVtdWxhdG9yOiBDYW4="t start OpenGLES renderer?
emulator: WARNING: Could not initialize OpenglES emulation, using software renderer.
如果自己編譯的 sdk 還是安裝上面的運行步驟, 並不能把 Android 啟動,有下面的錯誤。
emulator: Initializing hardware OpenGLES emulation support
Failed to create Context 0x3005
emulator: KVM mode auto-enabled!
destroyOpenGLSubwindow not implemented for separate renderer process !!!
createOpenGLSubwindow not implemented for separate renderer process !!!
repaintOpenGLDisplay not implemented for separate renderer process !!!
emulator: Realistic sensor emulation is not available, since the remote controller is not accessible:
這應該是 模擬器沒有自動切換為 soft 3d, 仍然向不存在的模擬器要構建的 hardware 3d 中pipe 通信,結果失敗。
在 Virtual box 中運行 Ubuntu 12.04, 再在啟動運行運行 Android 模擬器
Android 模擬器可以運行,就是非常慢
因為Virtual box虛擬的設備沒有3d設備, 得到下面的錯誤
emulator: Initializing hardware OpenGLES emulation support
OpenGL Warning:Failed to connect to host. Make sure 3D acceleration is enabled for this VM.
在Virtual box中勾選3D加速,再次啟動 Ubuntu, 再運行 android emulator
得到下面log,可見Virtual box提供3d 運行 android emulator 還是有問題
Failed to create Context 0x3005
emulator: Can't start OpenGLES renderer?
emulator: WARNING: Could not initialize OpenglES emulation, using software renderer.
Android 使用ListView實現網易評論蓋樓效果
效果如下:(點擊下載demo) 實現原理:頂部利用了ListView的HeadView來實現,然後其他每個item都用背景實現! 首先設置一些常量:package c
android中的UI優化
三種布局方式android對布局優化提供了三種布局:這三種布局都可以簡化我們的布局文件,優化繪制流程,下面我們簡單看一下這三種組件的使用方式。1、重用布局"ht
android CoordinatorLayout使用
一、CoordinatorLayout有什麼作用CoordinatorLayout作為“super-powered FrameLayout”基本實
Android 高仿微信朋友圈動態支持雙擊手勢放大並滑動查看圖片效果
最近參與了開發一款旅行APP,其中包含實時聊天和動態評論功能,終於耗時幾個月幾個伙伴完成了,今天就小結一下至於實時聊天功能如果用戶不多的情況可以scoket實現,如果用戶